高空作业平台悬臂裂纹声发射检测
刘雅婷 ,刘时风
(清诚声发射研究(广州)有限公司,广州 510520)
摘 要:为了保证高空作业平台的使用安全,除了对高空作业人员的专业培训、持证上岗之外,还要对高空作业平台设备进行定期的质量检测。在国外,使用声发射技术对空中人员升降设备进行检测被成功应用,并变成了测试新的或在役车载高空平台设备的标准流程。本文将介绍与国外客户合作的成功案例,详细介绍如何运用声发射设备和定制的声发射软件进行臂式高空作业平台悬臂梁检测标准流程和检测标准,对推进高空作业平台声发射技术检测标准的制定具有积极的意义。
关键词:高空作业平台;声发射;检测过程和标准
中图分类号:TB51;TB52 文献标识码:B
Acoustic emission detection of booms on aerial working platform
Yating Liu Shifeng Liu
(QingCheng AE Institute (Guangzhou) Co., Ltd, Guangzhou 510520)
Abstract: In order to ensure the safety of high-altitude working platform, in addition to the professional training of high-altitude working personnel, certificate on duty, but also to carry out regular quality testing of high-altitude working platform equipment. In foreign countries, acoustic emission (AE) technology has been successfully applied to detect airborne personnel lifting equipment, and has become a standard procedure for testing new or in-service vehicle-mounted aerial platform equipment. This paper will introduce the successful cases of cooperation with foreign customers, and introduce in detail how to use acoustic emission equipment and customized acoustic emission software to carry out the inspection standard process and inspection standard of cantilever beam of aerial work platform, which has positive significance for promoting the establishment of acoustic emission technology inspection standard of aerial work platform.
Key words: aerial work platform; acoustic emission; test procedure and standards。
高空作业平台广泛适用于市政、电力、路灯、广告、通讯、摄影、园林、交通、码头、机场港口、大型工矿企业等行业的安装维修及登高作业。高空作业平台可以把高空作业人员、工具等抬升到指定位置高度进行各种工程作业,为作业人员提供安全保障。
高空作业平台按照臂展方式可分为直臂和曲臂两种,多用于船厂等高度要求较高的场所,此类机器安全性较好,移动方便,但是成本很高。高空作业平台的故障一般发生在玻璃钢(FRP)或金属悬臂的裂纹断裂,或平台倾侧倒下,导致机械损坏,作业人员伤亡等经济财产和人员损失。
为了保证高空作业平台的使用安全,除了对高空作业人员的专业培训、持证上岗之外,还要对高空作业平台设备进行定期的质量检测。在国外,使用声发射技术对空中人员升降设备进行检测被成功应用,并变成了测试新的或在役车载高空平台设备的标准流程[1]-[4]。按照ASTM F914-03标准,臂式高空作业平台需要定期接受质量安全测试,以保证机械使用和高空作业人员的安全。所以定期检测曲臂式高空平台,及早发现早期裂纹或危险,避免重大事故发生,具有重要的意义。
我国高空作业平台市场还处于增长初期阶段,但是因为高空作业平台优于传统作业平台的安全性和经济性,特别在人工成本大幅增大的市场环境下,国内高空作业平台的使用增长空间非常大。然而国内还没有对于高空作业平台设备的检测对应的广泛应用的行业标准。所以及早做出国内高空作业平台的检测标准和流程,可以规范高空作业行业的安全操作,并一定程度上可以预防安全事故的频率。
基于上述原因,本文将介绍与国外客户合作的成功案例,详细介绍如何运用声发射设备和定制的声发射软件进行臂式高空作业平台悬臂梁检测标准流程和检测标准,对推进高空作业平台声发射技术检测标准的制定具有积极的意义。
1 背景介绍
1.1 高空作业平台介绍
高空作业平台相关产品主要有:剪叉式高空作业平台、拖车式高空作业平台、曲臂式高空作业平台、直臂式高空作业平台、铝合金高空作业平台、套缸式高空作业平台、蜘蛛式高空作业平台七大类。高空作业平台按照能否带电作业又可分为绝缘型和非绝缘型。
绝缘型高空作业平台的工作平台和部分工作臂采用绝缘材料(一般为玻璃钢)制作,工作平台和大地之间阻抗很大,人员可以在高压线路不断电情况下作业。非绝缘型不具备绝缘功能,不能进行带电工作。
本文案例适用于直臂式、曲臂式、拖车式高空作业平台,主要针对臂式高空平台的吊臂结构裂纹和断裂进行检测。对于发现的早期悬臂裂纹可以进行及时的干预和修复,延长设备的使用寿命和保证高空作业人员的人身安全。

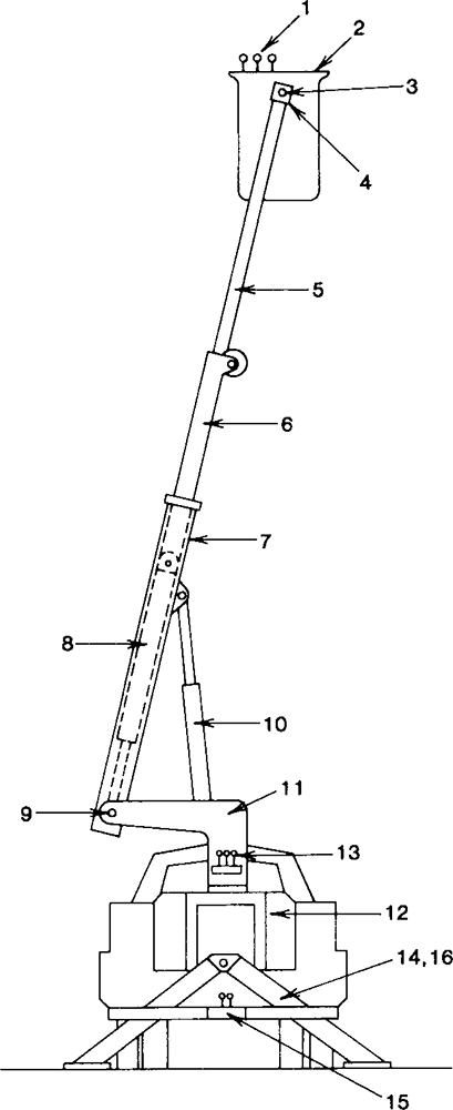
图1曲臂式空中设备结构图
Fig.1 Articulating Aerial Device Nomenclature Diagram

图2伸缩式空中设备结构图
Fig.2 Extensible Aerial Device Nomenclature Diagram
1.2 声发射技术介绍
材料中局域源快速释放能量产生瞬态弹性波的现象称为声发射(Acoustic Emission, 简称 AE) ,有时也称为应力波发射。声发射是一种常见的物理现象,大多数工程材料变形和断裂时都有声发射产生。通过接收和分析这种声发射信号来评定材料性能或结构完整性的检测方法称为声发射检测技术。材料在应力作用下的变形与裂纹扩展,是结构失效的重要机制。
声发射技术,是一种动态无损检测技术,涉及声发射源、波的传播、声电转换、信号处理、数据显示与记录、解释与评定等基本概念。声发射检测的原理如图1所示,从声发射源发射的弹性波最终传播到达材料的表面,引起可以用声发射传感器探测的表面位移,传感器将材料的机械振动转换为电信号,然后再被放大、处理和记录,通过对记录的声发射信号进行分析与推断以了解材料产生声发射的机制。

图3声发射技术原理图
Fig.3 Diagram of acoustic emission principle
2 测试方法和步骤
2.1 测试设备与安装
测试是在控制载荷下对高空平台设备的主要部件进行试验。该试验方法采用客观标准进行评价,可随时中断某一特定区域的测试,调查、关注或防止错误持续到最终失败。
高空作业平台测试需要监测的部件应包括但不限于表1或表2中规定的部件。可使用其他通道和传感器来补充最低测试要求并提高定位分辨率。将传感器安装在表1或表2所示部件的FRP和金属部分上。覆盖范围由使用的传感器数量和单个组件的衰减特性决定。
声发射仪器应能在20至200 kHz的频带内进行离散信道的数据采集。声发射仪器通道的数量应根据空中设备的衰减特性确定,以便覆盖表1或表2中的那些组件。本文实际测试中应用了清诚声发射研究的SAEU3H多通道声发射检测仪,用GI40声发射传感器检测FRP部位,GI150传感器检测金属钢部位。
3 实验应用和软件
3.1 现场设备与安装
本次案例是新西兰客户用于检测可伸缩臂高空作业车的FRP悬臂声发射检测。

本案例现场测试的空中设备
传感器安装